Pressure gauges

Festo offers a large number of various pressure gauges. However, regardless of size and design, the product range includes just two basic principles: the bourdon tube pressure gauge for a measure gauge pressure of up to 25 bar, and the pneumatic capsule gauge for a range of up to 0.25 bar.

Bourdon tube pressure gauge

Bourdon tubes are tubes with an oval cross-section which have been bent into a circle. If pressure is applied to the inside of the Bourdon tube, its cross-section is changed, and it approaches a circular shape. The resulting mechanical stress causes the tube to bend. The unfixed end of the tube is set into motion, the extent of which is a measure of pressure. The extent of this motion is indicated at the gauge by means of a mechanism. The circular tubes which are bent to an angle of approximately 250° are used for pressure ranges of up to roughly 60 bar.

Bourdon tubes are only protected against overloading to a limited extent. In order to be able to execute especially difficult measuring tasks, a diaphragm seal can be installed upstream from the pressure gauge which functions as an isolating and protective device. Indicating ranges lie within a spectrum of 0 to 0.6 and 0 to 4000 bar with indicating accuracies (accuracy classes) of 0.1 and 4.0 %.

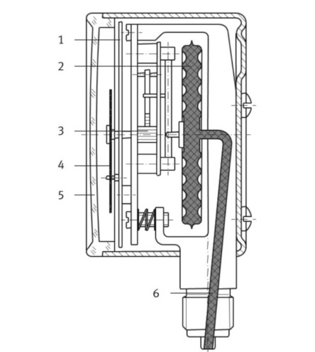
Technical drawing showing full details of a Bourdon tube pressure gauge, including dial face (1), Bourdon tube gauges (2), indicator (3), mechanism (4), and pressure chamber (5).
  1. Full details of a bourdon tube pressure gauge
  2. 1 Dial face
  3. 2 Bourdon tube gauges
  4. 3 Indicator
  5. 4 Mechanism
  6. 5 Pressure chamber

Capsule pressure gauge

The capsule piles in the pressure gauge consist of two round, corrugated diaphragms which are joined to each other at the edge in a pressure-tight fashion. Pressure acts upon the inside of the capsule. Stroke motion caused at the diaphragm in this way is transferred to the indicator via a mechanism as a measure of pressure. Pressure gauges with capsule piles are especially well suited for relatively low pressure. Overload protection is only provided to a limited extent. Indicating ranges lie within a spectrum of 0 to 2.5 mbar and 0 to 0.6 bar in accuracy classes to 2.5.

Technical drawing section through a capsule pressure gauge showing dial face (1), capsule piles (2), mechanism (3), indicator (4), viewing glass (5), and pressure chamber (6).
  1. Section through a capsule pressure gauge
  2. 1 Dial face
  3. 2 Capsule piles
  4. 3 Mechanism
  5. 4 Indicator
  6. 5 Viewing glass
  7. 6 Pressure chamber

FAQs – frequently asked questions clearly explained

What is a Pressure Gauge?

A pressure gauge is a method of measuring fluid, gas, water, or steam intensity in a pressure powered machine to ensure there are no leaks or pressure changes that would affect the performance of the system. These systems are designed to operate within a specific pressure range. Any deviation from the acceptable norms can seriously affect the workings of the system.

Pressure gauges have been used for more than a hundred years and have been constantly evolving to fit the needs of new applications, many techniques. The implementation and use of pressure gauges has made them a necessity as more and more pressure systems become operational.

Types of Pressure Gauges

The variations in pressure gauges are dependent on where the gauge will be used, with different sizes, styles, and materials designed to fit specific applications. There are several ways pressure gauges are categorized and defined, including by usage, and media.

  • Total pressure is determined by the perpendicular force applied per unit area of a surface, a calculation that is determined through the use of different techniques and methods. The correct measurement of pressure is dependent on the reference the pressure reading is measured against. Pressure gauges are divided into hydrostatic and mechanical.
  • Hydrostatic Pressure is generated by the weight of a liquid above a measurement point when the liquid is at rest. The height of the liquid influences the hydrostatic pressure. The hydrostatic properties of a liquid are not constant and are influenced by liquid density and gravity, (both of which determine hydrostatic pressure).
  • Mechanical Pressure is measured by a bellows, diaphragm, or Bourdon tube that converts fluid pressure into force.

In the discussion of pressure, it is important to understand some of pressure‘s other dynamics, which are absolute, gauge, differential, and atmospheric. Everyone is familiar with ambient atmospheric pressure; it is discussed as part of weather reports, it is the pressure of the air around us. Absolute, differential, and gauge pressure are methods for measuring pressure.

  • Absolute Pressure is when pressure is measured relative to a vacuum.
  • Gauge Pressure is pressure relative to the ambient atmospheric pressure. This form of pressure is positive when it is above atmospheric pressure and negative when it is below atmospheric pressure.
  • Differential Pressure is measuring the difference between two types of applied pressure. This form of pressure measurement does not have a reference but measures the two applied pressures.

How are pressure gauges used?

Pressure gauges are an essential instrument used by industry to measure the accuracy of the pressure in a system as a quality check measure and to ensure the consistency of products. For reasons of safety, pressure gauges monitor fluids, gases, and steam for leaks or a build up of pressure in a system.

The design, style, type, and configuration of a pressure gauge is determined by the application it serves or the industry in which it is used. There are innumerable uses for pressure gauges, from measuring the pressure in a swimming pool pump to measuring the pressure in a hydraulic line for manufacturing equipment.

· Automobiles: When discussing pressure gauges for a car, the first thing that comes to mind is the air pressure gauge for the tires. Though an air pressure gauge is important, there are several other pressure gauges that monitor various car systems, such as the air conditioning, oil, and engine coolant. Modern cars have gauges and meters on almost every critical component.

· Aeronautics: There are a wide variety of instruments that inform a pilot of an aircraft's condition and pressure variances. Pressure sensing devices can be found in the flight group and engine group. They are the most critical and essential aspects of an airplane's operation, as they are a means of preserving its safe functioning. Each type of pressure gauge is designed to fit a specific application.

· Oil Production : In the oil industry, flow lines, separators, and stock tanks are all under some form of pressure. Every aspect of an oil operation, from the wellhead to the tank, is monitored and overseen by a pressure gauge. All gauges for the oil industry have safety measures built into them for the protection of workers since they can blow out when the pressure gets too high.

· Food Industry: Pressure gauges for the food industry are required to be exceptionally hygienic and are made of stainless-steel grade 316, which is allowed to be exposed to the media. Food grade pressure gauges are able to withstand the regular rigorous cleaning that is a necessary part of the food preparation process. For safety and sanitary reasons, food processing pressure gauges must have an extremely smooth surface so that contaminants, bacteria, and residue are unable to be trapped on the surface of the pressure gauge.

How to choose a pressure gauge?

They are widely used by several industries to monitor and calibrate pressure functions and applications. In most cases, they are designed, configured, and produced to exactly meet the specific needs of an industry as well as provide accurate and precise data.

Regardless of the wide use of pressure gauges, it is important to carefully consider all of the factors about a pressure gauge when making the decision to install one. The selection of the right gauge for accurate measurement of the needs of the process can help to avoid the many problems associated with malfunctions.

What is a vacuum gauge?

Vacuum gauges are basic measurement components for vacuum furnace systems and can be found either in vacuum lines or connected directly onto the vacuum chamber. For all intents and purposes, a vacuum gauge is an instrument for measuring pressures below that of atmospheric pressure.

How does a vacuum pressure gauge work?

Most pressure gauges make use of a bended tube. This tube is called a Bourdon tube. The tube deflects slightly under a pressure differential between the medium and the atmosphere. The tube deflection is converted via a mechanism to a needle position on the dial.

How do I choose a vacuum gauge?

Factors to consider when choosing vacuum gauges:

  • Operating vacuum level and accuracy.
  • Process connection or application impact on gauge.
  • Interface to your system.
  • Cost and maintenance.